x

Pot Bearing

Banner
Home > Products > Structure Bearing
Pot Bearing
Pot Bearing

Pot Bearing

Bridge Pot Bearings

Pot bearings are critical load-bearing and shock-absorption devices widely used in highway bridges, railway bridges, municipal viaducts, and large-scale building structures. They transfer the load from the superstructure by confining an elastomeric pad within a steel pot, while utilizing the low-friction characteristics of PTFE (Polytetrafluoroethylene) plates sliding against stainless steel surfaces to accommodate smooth translational movements. Renowned for their high load capacity, significant horizontal displacement capability, and flexible rotation, pot bearings are indispensable key components in modern long-span bridge engineering.

Product Details

Design Principles of Pot Bearings

The pot bearing features an elastomeric pad confined within its steel pot. Under compressive load, this pad exhibits fluid-like behavior in a triaxial state of stress, enabling the bearing to accommodate large rotations. Horizontal displacements are achieved through the relative sliding motion between a PTFE plate mounted on the piston and a matching stainless steel surface.

Thanks to their ability to withstand high vertical reactions, significant horizontal displacements, and large rotations, pot bearings are ideally suited for long-span bridges and structures with substantial end reactions.

Fixed Pot Bearings are designed to restrict all horizontal movements while allowing rotation around any horizontal axis. This rotation is facilitated by the shear deformation of the confined elastomeric disk within the steel pot.

The pot itself is fabricated from standard steel plate to the required dimensions. A brass sealing ring is critical for preventing the pressurized elastomeric disk from extruding through the annular gap between the piston and the pot wall. The piston, housed within the pot, bears directly on the elastomeric disk.

Expansion Pot Bearings (movable types) are created by adding sliding components to the fixed bearing assembly. The inclusion of a guide system determines whether the bearing allows multi-directional or unidirectional movement. These key sliding elements consist of a polished stainless steel plate, typically welded to a substrate, and a PTFE disk bonded to the opposing surface. To enhance load capacity, the PTFE disk is often recessed into a steel backing plate to a depth approximately half its thickness. These disks contain small cavities (lubrication pockets) filled with a special silicone grease, ensuring permanent lubrication of the sliding interface.


A Guide to Pot Bearing Types: Fixed, Guided, and Sliding

Understanding the types of pot bearings is critical for selecting the right component for your bridge or structure. They are primarily classified by their displacement capabilities:

  • Fixed Pot Bearings (GD): Restrict all translational movements, serving as a pivotal support point.

  • Guided (Unidirectional) Sliding Pot Bearings (DX): Allow movement along one axis while guiding and restraining movement in the other.

  • Free (Multidirectional) Sliding Pot Bearings (SX): Accommodate movement in any horizontal direction.


A crucial secondary classification involves seismic performance. Standard Fixed and Guided Pot Bearings can be integrated with damping mechanisms to create Seismic Pot Bearings. Despite nearly identical exteriors, the internal configuration—particularly the presence and design of sliding components like PTFE pads—is what determines the bearing's function and ensures the bridge can displace safely as intended.


1. Fixed Pot Bearing (GD) – Restricted Movement with Rotation

The Fixed Pot Bearing is engineered to accommodate rotational movements while restricting all horizontal displacements. Its robust construction includes top and bottom steel plates, a central piston, a confined elastomeric pad, a brass sealing ring, and an integrated stainless steel plate. The unique design, particularly the sealing ring, allows the piston to rotate smoothly under high vertical loads. This bearing serves as a fixed point in the structure, transferring lateral forces to the substructure while allowing for essential deck rotations.

Fixed pot bearing can keep the loads between the superstructure and substructure transferring under control.

Fixed pot bearing has the characteristics of simple structure and light weight.

1. top plate; 2-brass seal; 3-elastomer disc; 4-pot; 5-anchor bolt; 6-sleeve; 7-rubber seal; 8-piston


2. Guided Sliding Pot Bearing (DX) – Unidirectional Movement & Rotation

Also known as a unidirectional sliding bearing, the Guided Sliding Pot Bearing facilitates movement along one predefined horizontal axis while restraining movement in the perpendicular direction. Its core structure is similar to the free sliding type, but it is distinguished by the addition of guide bars or ribs on the top plate. This configuration permits both rotational movement and controlled sliding in one direction. There are two common design variations: Edge-Guided and Center-Guided Sliding Pot Bearings, which differ in the placement of the guiding mechanism.

The edge-guided type permits movement in one direction only.

The center-guided type functions identically, providing the same unidirectional movement.

Both guided types (edge and center) restrict movement to a single axis.

1-top plate; 2-brass seal; 3-elastomer disc; 4-pot; 5-anchor bolt; 6-sleeve; 7-rubber seal; 8-piston; 9-sliding guided part


3. Free Sliding Pot Bearing (SX) – Multidirectional Movement & Rotation

The Free Sliding Pot Bearing, or multidirectional sliding bearing, is designed to accommodate rotations along with translational movements in any horizontal direction. Its construction mirrors that of the fixed bearing but incorporates a low-friction PTFE (Polytetrafluoroethylene) slide plate attached to the piston, which interfaces with a mirrored stainless steel surface. This key addition enables the entire superstructure to slide freely in response to thermal expansion, contraction, and other dynamic forces, while the confined elastomer provides excellent rotational capability.

The free-sliding type allows for rotation and movement in all horizontal directions.

It incorporates a low-friction PTFE plate above the piston to enable smooth, multi-directional sliding.

 

Technical Data Sheet

Our pot bearings are manufactured to meet both Chinese standard JT/T 391-2019 and American standard AASHTO LRFD requirements, ensuring global applicability.

Maximum Vertical Load: 4500 kips.

Rotation Capacity: ±0.02 radians.

Materials and testing shall conform to AASHTO and other applicable standards.

Material: steel, elastomer.

Shape: round and rectangular.

Hardness (shore A): 55–65.

Capacity: 1000–70000 kN.

Displacement: 0–300 mm.

Normal temperature type bearing: suitable for -25 °C to 60 °C.

Cold resistant type bearing: suitable for -40 °C to 60 °C.

Certification: CCC, SGS, CE, ISO.

Package: plastic, wooden or tin box.

 

Specification

Fixed pot bearing

Guided sliding pot bearing

Free sliding pot bearing


Technical parameter

Design reaction of bearing (vertical bearing capacity): 0.8–60 MN, it is divided into 31 specifications.

Horizontal bearing capacity

The horizontal bearing capacity of fixed pot bearing in all directions is equivalent to 20% of the design reaction.

The horizontal bearing capacity of guided sliding pot bearing in the direction that perpendicular to the bridge is equivalent to 20% of the design reaction.

Rotation angle of the pot bearing: the design rotation angle of pot bearing is 0.02 rad.

Table 1 : Physical Properties of Rubber Materials of Bearing

Item/Rubber Type

Neoprene

Natural Rubber

EPDM

Hardness (shore A)

60 ± 5

60 ± 5

60 ± 5

Tensile Strength

≥17.0

≥17.5

≥15.2

Elongation at Break

≥400%

≥400%

≥350%

Brittleness Temperature

≤-40 °C

≤-50 °C

≤-60 °C

Constant EN Compression Set(70 °C, 22 h)

≤20%

≤25%

≤25%

Resistance of Ozone Aging(Test Condition: 25–50 pphm, 20% Elongation, 40 °C, 96 h)

no cracking

no cracking

no cracking

Air Oven Aging Test

Test Condition(°C × h)

100 × 70

70 × 168

100 × 70

Reduction Rate of Tensile Strength

<15%

<15%

<15%

Reduction Rate of Elongation at Break

<40%

<20%

<40%

Change of Hardness

<+15

<+10

<+10

Table 2: Displacement of Seismic Highway Bridge Pot Bearing

Specification/Type

Maximum Displacement the longitudinal direction of bridge (mm)

Maximum Displacement the transverse direction of bridge (mm)

GD

SX

DX

GD

SX

DX

0.8–3

0

±50, ±100, ±150

±50, ±100, ±150

0

±40

±3

3.5–9

0

±100, ±150, ±200

±100, ±150, ±200

0

±40

±3

10–30

0

±150, ±200, ±250

±150, ±200, ±250

0

±40

±3

32.5–60

0

±200, ±250, ±300

±200, ±250, ±300

0

±50

±3


Material

1. Steel elements

The Material And Standard Of Steel Elements

Steel parts

Material

Standard

Pot

Cast steel or S355(Gr. 50) steel

EN, AASHTO

Piston

S355(Gr. 50) steel

EN, AASHTO

Top plate

S255( Gr. 36)

EN, AASHTO

Bolts

41Ce4 ( Grade 100)

EN, AASHTO

Stainless steel

S304

EN, AASHTO


2. Elastomeric materials

The elastomeric material used for the elastomeric pad shall be natural or polychloroprene rubber in accordance with ISO6446.

Physical and mechanical propertied of elastomer disc

Characteristics

Requirements

Test Methods

G Modulus  (MPa)

0.7

0.9a

1.15

ISO

Equivalent national  standard

Tensile Strength (MPa)

Molded Test Piece

Test Piece from Bearing

Minimum elongation at break(%)

Molded Test Piece

Test Piece from Bearing

 

≥16

≥14

 

450

400

 

≥16

≥14

 

425

375

 

≥16

≥14

 

300

250

ISO 37

type2

GB/T

528-1998(Type 2)

Minimum Tear Resistance(KN/m)

CR

NR

 

≥7

≥5

 

≥10

≥8

 

≥12

≥10

ISO 34-1

Trouser

(Method A)

GB/T 529-1999

(Pants type)

Compression Set(%)

24h; 72℃

 

CR ≤15

NR≤30

ISO 815

φ29×12.5mm,

Spacer: 9.38mm,-25%

GB/T

7759-1996

Accelerated Ageing

(Maximum change from unaged value)

-Hardness(IRHD)

NR  7 d , 70℃

CR  3 d, 100℃

-Tensile strength(%)

NR  7 d , 70℃

CR  3 d, 100℃

-Elongation at break(%)

NR  7d , 70℃

CR  3d, 100℃

 

 

 

-5+10

±5

 

±15

±15

 

 

±25

±25

ISO 48

ISO 188

GB/T

6031-1998

GB/T

3512-2001

Ozone Resistance

Elongation: 30% – 96h

40℃±2℃

NR 25pphm

CR 100pphm

No cracks

ISO 1431-1

GB/T 7762-2003


3. Brass sealing rings

The internal brass seal fitted into a formed recess in the upper edge of the elastomeric pad and consisted of a number of split rings to the internal diameter of the pot. Rings with a minimum cross-section of 10mm ×2mm may have slits 7mm deeps ×0.5mm wide spaced at 5 mm around the inner diameter to facilitate forming. Rings with a smaller cross-section have not slits.

Solid brass sealing ring configurations

Diameter  d (mm)

Minimum cross-section

slits

Number of rings

d≤330

6 ×1.5

Not permitted

2

>330<715

10×1.5

Not permitted

2

=715<1500

10×1.5

Not permitted

3

<1500

10×2

7mm ×0.5mm

5mm spacing

3

The material used for the brass seal is grade CuZn37 or CuZn39Pb3, as specified in EN 12163 and EN 12164 respectively,  in the metallurgical condition used in the type tests.

 

Stainless Steel

The stainless steel conform to ASTM A240/A240M, EN1337-5, or approved equivalent. The roughness of the surface in contact with the PTFE, measured in accordance with CSA B95, does not exceed an arithmetic mean of 0.25 μm.

 

Sliding elements

  • PTFE sheets

The raw material of PTFE sheets are pure polytetrafluoroethylene free sintered without regenerated or filler materials.

Mechanical and physical properties of PTFE

Property

Test standard

requirement

Mass density

EN ISO 1183(all parts)

ρp = 2140 to 2200 kg/m3

Tensile strength

EN ISO527-1 and -3

Fptk=29 to 40 MPa

Elongation at break

EN ISO527-1 and -3

δp≥300 %

Ball hardness

EN ISO2039-1

H132/60=23 to 33 MPa

 

  • Modifies ultra-high molecular weight polyethylene (UHMWPE)

Modifies ultra-high molecular weight polyethylene (UHMWPE) have increased wear-resistance and load capacity, it is also suitable for use in sliding bearings for bridge and buildings. With grease dimples and high performance grease, a durable, low-friction sliding surface is ensured. In addition to its excellent physical properties, such as high resistance to wear and a high characteristic load capacity, UHMWPE can also be used at very low temperatures (as low as -58 oF/-50 ℃) and at high temperature (up to approximately 122 oF/-50 ℃). Due to its high durability, the use of UHMWPE greatly reduced maintenance and replacement costs.

 

  • Lubricant ( Silicon grease)

Physical and chemical properties of lubricant

Properties

Requirements

Worked penetration

26.5 to 29.5mm

Dropping point

≥180 ℃

Oil separation after 24 h at 100℃

≤3 %(mass)

Oxidation resistance pressure drop after 100h at 160℃

≤0.1 MPa

Pour –point of base oil

Below-60 ℃

 

Application

Pot bearing is mainly used in such fields:

1. Bridge which the structure with rotations in various directions.

2. Large curved or skewed bridge.

3. Highway.

4. Other fields which also need to meet the need of large load and rotation.

 

Quality control

Quality Assurance and Compliance

Our pot bearings are designed and manufactured in strict accordance with leading international standards, ensuring global applicability and the highest quality. The core product system is CE marked under the EN 1337-5 standard. Furthermore, our products fully comply with other major international codes, such as the AASHTO LRFD Bridge Design Specifications, providing flexible and reliable options for your projects worldwide.


Comprehensive Quality Control System

Our quality assurance begins with raw materials and is integrated throughout the entire manufacturing process, right through to the final product dispatch.


Raw Material Control:

  • Steel: All load-bearing steel plates (e.g., pot ring, piston) are made from high-quality steel. Each batch is accompanied by material certificates and is subjected to re-inspection of chemical composition and mechanical properties (such as yield strength, tensile strength, and impact toughness) as required to ensure compliance with design specifications.

  • Elastomeric Pad: The chloroprene or natural rubber pads used are rigorously tested for physical and mechanical properties (including hardness, tensile strength, elongation, and aging resistance) to guarantee long-term performance stability throughout the design life.

  • PTFE Sheet: The polytetrafluoroethylene (PTFE) sheets used must meet strict standards for physical properties like density, wear resistance, and coefficient of friction to ensure the long-term, low-friction performance of sliding bearings.

 

Production Process Control:

  • Machining: All steel components are machined using precision CNC equipment to ensure critical dimensions (e.g., pot inner diameter, piston outer diameter, surface finish) and tolerances meet drawing requirements.

  • Welding: All critical welds are performed by certified welders according to established procedures and undergo non-destructive testing (such as ultrasonic or magnetic particle inspection) to ensure weld integrity and strength.

  • Assembly: Assembly is conducted in a clean environment to prevent scratches or contamination of the PTFE and stainless steel sliding surfaces. The quality of the sealing ring installation is checked during assembly to ensure the elastomeric pad is fully confined.

 

Final Product Inspection and Testing:

  • Appearance and Dimensions: Each bearing undergoes a final visual inspection for defects like corrosion or burrs, verification of a uniform and intact paint coating, and a check of all critical dimensions.

  • Type Testing Supervision: Our product prototypes have successfully passed the initial type tests required by EN 1337-5, witnessed by authoritative third-party bodies such as MPA Stuttgart, Germany, validating their load capacity, rotation capability, and durability.

  • Factory Production Control (FPC): Our entire production system is under continuous surveillance by MPA Stuttgart. Regular audits ensure our quality management processes consistently comply with standards, providing independent, authoritative endorsement for the quality of every bearing shipped.


We are confident that this comprehensive, traceable quality control system—from raw materials to finished product—enables us to deliver high-performing, safe, and durable products that ensure the reliability and longevity of your bridge projects.

Hardness testing of rubber sheet
Hardness testing of rubber sheet
Elongation at break testing of rubber specimen
Ozone aging testing
UT NDT testing on the pot part
Vertical load and horizontal load testing
Rotation testing
The elastomer disc (NR or CR)& pot
CE certificate pot bearing
Production

Pot Bearings Installation and Operation Manual

Pot Bearings Installation and Operation Guide

I. Product Classification

By Functional Performance:
(1) Free Sliding Type: Provides vertical load support, rotation around any horizontal axis, and bidirectional sliding movement.
(2) Guided Type 1 & Guided Type 2: Provides vertical load support, rotation, unidirectional sliding movement, and restraint (horizontal load capacity) in the perpendicular direction.
(3) Fixed Type: Provides vertical load support, rotation, and restraint against horizontal movement in all directions (full horizontal load capacity).

 

By Applicable Temperature Range:
(1) Standard Temperature Type: Suitable for an operating temperature range of -25°C to +60°C.
(2) Low-Temperature Type: Suitable for an operating temperature range of -40°C to +60°C.


II. Structural Configuration

Free Sliding, Guided Type 1, and Guided Type 2 Bearings primarily consist of the following components: top bearing plate, stainless steel plate, plain wear-resistant (PTFE) plate, intermediate plate, rubber sealing ring, brass sealing ring, elastomeric rubber pad, and the pot (base plate).

Fixed Type Bearings primarily consist of the following components: top bearing plate, rubber sealing ring, brass sealing ring, elastomeric rubber pad, and the pot (base plate).

  

1. Upper support plate 2, stainless steel plate 3, flat wear-resistant plate 4, middle steel plate

5. Rubber sealing ring 6, brass sealing ring 7, rubber plate 8, bottom basin

Figure 1: Schematic Diagram of Free Sliding Bearing Structure


 

1.Top bearing plate 2. Stainless steel plate 3. Plain wear-resistant (PTFE) plate 4. Guide rail assembly 5. Intermediate plate 6.Rubber sealing ring 7. Brass sealing ring 8. Elastomeric rubber pad 9. Pot (Base plate)

Figure 2: Schematic Diagram of Guided Type 1 and Guided Type 2 Bearing Structure

 

 

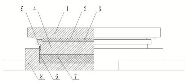
1.Top bearing plate 2. Rubber sealing ring 3. Brass sealing ring 4. Elastomeric rubber pad 5. Pot (Base plate)

Figure 3: Schematic Diagram of Fixed Bearing Structure

 

III. Handling, Transportation, and Storage

1 .Bearings shall be bundled with soft ropes, all components securely connected. Use forklifts or lifting equipment for handling.

2. Bearings can be installed immediately upon arrival at the site. If not installed immediately, store them properly on a level surface. Support the pot base underneath with square timber or wood blocks. The storage area must be dry, shaded, dust-free, and clean. Keep away from acids, alkalis, oils, organic solvents, and other substances that could affect bearing quality. Maintain a distance of more than 1 meter from heat sources.

3. Storage should not interfere with site construction and should allow easy transportation and lifting of the bearings.

4. Bearing components must not be disassembled. During handling, storage, and transportation, ensure all components and painted surfaces are protected from damage.


IV. Installation Procedure

1. Pre-Installation Inspection
(1) Check that the pier/abutment location matches the bearing specifications.
(2) Check the connection status of the bearing is normal. Do not arbitrarily loosen the connecting devices.
(3) Check the bearing markings and installation direction to ensure they correspond to the design direction.
(4) Check the surfaces of the bearing's upper and lower plates that will contact the concrete or cement mortar; they must be free of dust and oil stains.


2. Grouting Material Performance Requirements
Use grouting material that conforms to design requirements. Its strength should not be lower than the strength of the support pedestal.


3. Installation Methods
Based on the connection method between the bearing and the superstructure/substructure, installation can be performed using the following methods:

(1) Gravity Grouting Method

When the support pedestal surface exposes coarse aggregate, presenting an irregular solid surface, clean debris from the reserved holes and wet the pedestal surface with water. (When using gravity grouting, the constructed pedestal height should be 25mm lower than the original design height).

Lower the bearing onto the support pedestal. Adjust the bearing height and levelness using leveling bolts, thin steel shims, or thin jacks.

Formwork and Grouting: Install formwork around the bearing. Extend the grouting pipe to the center position beneath the bearing. Grout from the center outwards. Use a vibrator to compact the mortar and remove air bubbles, ensuring all voids are filled. Grout until the mortar is about 10mm above the bearing's lower steel plate (see Figure 4).

 

Figure 4 Schematic diagram of grouting between support pad stone and support


Before grouting, preliminarily calculate the required grout volume. The actual volume used should not deviate significantly from the calculated value to prevent insufficient grouting. After the grout has finally set, remove the formwork and corner steel modules. Check for leakage and patch if necessary. Fill the gaps left by the removed steel modules with mortar.

Before the mortar reaches the design strength, protect the bearing from impact and do not perform any other work above it.

After removing temporary side formwork, carefully inspect the mortar surface to ensure it is crack-free.

After the mortar reaches design strength, tighten the anchor bolts to complete the installation.


(2) Pressure Grouting Method

Check the pedestal top to ensure its elevation meets design height, is smooth, and has a levelness tolerance within 2mm.

Apply a layer of mortar on the pedestal top. Position the bearing, ensuring correct location and elevation.

After positioning, carefully verify location and elevation. Then, inject mortar into the reserved holes through the grouting nozzles. Fill until mortar overflows from the top to ensure compactness. After the mortar reaches design strength, tighten the anchor bolts to complete installation (see Figure 5).

 

Figure 5

 

V. Maintenance

After installation and passing inspection, remove all temporary connecting components from factory and install dust guards. During service, bearings should be inspected and maintained regularly. During each inspection, clean, oil, and prevent seizing of anchor bolts if necessary.

Primary Inspection Items and Maintenance Measures

No.

Inspection Item

Maintenance Measure

1

Steel Component Corrosion

Grind corroded areas on steel surfaces and apply paint. Replace if corrosion affects performance.

2

Steel Component Cracking/Damage

Replace if cracks compromise safety. Reweld any broken welds promptly and apply anti-corrosion treatment.

3

Bearing Unseating

Correct or repair if unseating occurs.

4

Silicone Grease Drying Out; Wear/Extrusion of Slide Plate

Replenish silicone grease if dry. Replace slide plate material if severely worn or extruded.

5

Excessive Displacement

Correct excessive displacement.

6

Excessive Rotation

Analyze cause and correct excessive rotation.

7

Loose Connecting Components

Tighten loose connectors. Replace sheared bolts.


Reviews

Write a Review

Inquiry

Products Recommended

Laminated Elastomeric Bearings, also known as steel reinforced elastomeric bearing pads, are fundamental structural elements engineered to support and protect bridges and other structures. These high-performance bearings are manufactured through a process of vulcanization, which bonds alternating layers of high-quality elastomer (such as natural rubber) and internal steel plates (shims) into a single, integral unit. This robust construction combines high vertical stiffness with beneficial horizontal flexibility, making them a superior and versatile solution for a wide range of applications.

Our High Damping Rubber Bearings (HDRB) provide reliable seismic protection for bridges and buildings. Laminated high-damping rubber with steel shims transforms earthquake vibrations into slow, controlled movements, reducing structural damage. HDRBs combine strong vertical support, horizontal flexibility, and self-centering ability for long-term stability.

A Lead Rubber Bearing (LRB), also known as a lead-core rubber bearing, is a premium base isolation device engineered to protect bridges and buildings from earthquakes. Its robust construction features a central, cylindrical lead core press-fitted within a laminated stack of elastomeric rubber layers and reinforcing steel plates, all vulcanized into a single, high-performance unit. The lead core delivers exceptional energy dissipation through hysteretic damping, achieving an equivalent viscous damping ratio of up to 30%, while the rubber and steel layers provide flexible support, lengthening the structure's natural period to reduce seismic force impact. This synergy offers superior vertical load capacity, horizontal flexibility, and outstanding corrosion resistance. Available in round and rectangular shapes with single or multiple lead core options, our LRBs are custom-engineered to meet specific project demands for ultimate resilience and safety.

We supplies premium spherical bridge bearings designed for large loads & rotations. Compliant with EN 1337-7 & AASHTO. Ideal for bridges & complex structures. 


Modern structures, from monumental bridges to complex buildings, are designed to be flexible. They must safely accommodate movements and rotations caused by thermal expansion, traffic loads, and wind. Spherical Bearings are engineered to support these structures while safely transferring loads and allowing for controlled movement, ensuring long-term structural integrity and safety.


+86 15116183980

+86 15116183980

lkvicky2003@gmail.com

+